VALVEX TIGER PLUS zpětná klapka s kovovou membránou
Kód: 1900200 1900210 1900220 1900230 1900240 1900250 Zvolte variantu


Související produkty
Detailní popis produktu
VALVEX TIGER PLUS zpětná klapka s kovovou membránou
Popis:
- pro rozvody vody a topení
- jako zabezpečující armatura
- projekční podklady pošleme na vyžádání
- připojení 1/2", 3/4", 1", 5/4", 6/4", 2"
- membrána mosaz
- maximální pracovní tlak 10 P200 °C
- vyrobeno v Polsku
Materiál:
- tělo mosaz CW617N
- těsnění NBR
- zpětná klapka mosaz
- pružina nerez
Použití:
- jako armatura bránící zpětnému průtoku rozvody vody a topení
- instalace i do systémů pro pitnou vodu (splňují hygienické požadavky)
- instalace vertikálně i horizontálně
Instalace:
Abyste se vyhnuli problémům způsobeným nesprávnou montáží, je vhodné se řídit pokyny výrobce.

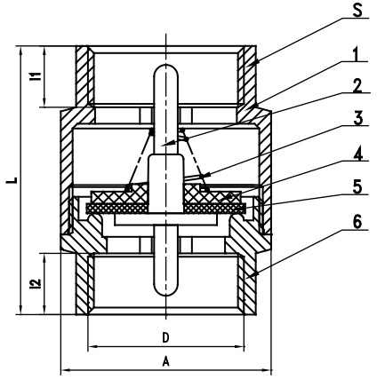
1 tělo ventilu, 2 čep, 3 pružina, 4 membrána, 5 těsnění, 6 matice tělesa, S velikost montážního klíče
Zpětný ventil můžete instalovat i ve svislé nebo vodorovné poloze, v souladu s tokem média (šipka na tělese filtru).
Nasaďte vidlicový klíč na šestihranný (nebo osmihranný) konec ventilu na straně potrubí a našroubujte ventil na přívodní potrubí. Nepoužívejte klíč na opačný konec ventilu, abyste jej našroubovali na potrubí (ne závitový spoj, je vidět na řezu níže). Podobný postup použijte při demontáži ventilu. Použití jiných než výše uvedených metod může způsobit poškození nebo netěsnost ventilu. Na utěsnění závitů použijte doporučené těsnící materiály (konopí, len, nit, teflonová páska). Instalace (vodní systémy) bez pevných nečistot, jako je písek, vodní kámen atd. zaručí správný, bezporuchový provoz. Doporučené velikosti montážních klíčů najdete v rozměrových tabulkách níže.
Rozměr:

Valvex S.A.
Valvex S.A. znamená kvalitu, spolehlivost a kreativitu designů a technologií. Značka je uznávána a oceňována v zemích Evropské unie, v zemích Severní a Jižní Ameriky a na Středním východě. Valvex S.A.se těší zasloužené pověsti na polském trhu, odkud firma pochází. Vyrábí několik tisíc položek sortimentu. Mezi ně patří: koupelnové a kuchyňské baterie, armatury pro vodovodní instalace, armatury pro plynové instalace, systémy ústředního vytápění, široký sortiment spojovacího materiálu, připojovací hadice. Historie společnosti sahá až do roku 1922. Tehdy byla založena první továrna na armatury v Polsku. Rok 1970 je jedním z milníků v historii firmy – tehdy byl otevřen výrobní závod v Jordanówě. V roce 1994 se stala společnost Valvex S.A. partnerem americké kapitálové skupiny Meridian International Group se sídlem v Milwaukee, Wisconsin USA. Skupina zaměstnává téměř 1 tis. zaměstnanci ve výrobních závodech a prodejních kancelářích ve Spojených státech a v Evropě. Valvex S.A. se může pochlubit prestižním certifikátem ISO 9001 a tzv. "Environmentální" ISO 14001, která dokazuje, že výroba je prováděna s ohledem na přírodní prostředí.
Doplňkové parametry
| Kategorie: | Zpětné klapky a sítka |
|---|---|
| Záruka: | 24 měsíců |
| EAN: | Zvolte variantu |
| Použití: | voda a topení |
| Provedení: | zpětná klapka |
| Připojení: | 1/2", 3/4", 1", 5/4", 6/4", 2" |
| Teplota: | 120 °C |
| Tlak: | PN 10 |
| Výrobce: | Valvex S.A. |
VALVEX S.A. - prezentace společnosti
VALVEX S.A. - prezentace výrobního závodu
Buďte první, kdo napíše příspěvek k této položce.
Buďte první, kdo napíše příspěvek k této položce.
Valvex – Tradiční polský výrobce armatur s globálním dosahem a moderním přístupem
Valvex S.A. patří mezi nejstarší výrobce armatur ve střední Evropě – jeho historie sahá až do roku 1922. Dnes je značka součástí americké skupiny Meridian International Group a nabízí tisíce produktů pro vodovodní a plynové instalace, vytápění i sanitární techniku. Díky preciznímu inženýrství, silnému designu a důrazu na kvalitu je Valvex respektovaným jménem na trzích po celém světě.
✅ Kompletní sortiment armatur a baterií: pro vodovodní, plynové a topné systémy
✅ Silné exportní zastoupení: výrobky Valvex jsou známé v celé EU, v USA, Jižní Americe i na Středním východě
✅ Tradice a certifikovaná kvalita: od roku 1922, držitel ISO 9001 a ISO 14001 s ohledem na životní prostředí
Společnost Valvex S.A. kombinuje historickou zkušenost s moderním přístupem k výrobě. Díky neustálým inovacím, důrazu na ekologii a spolupráci se zahraničními partnery si buduje silnou pozici mezi evropskými i globálními výrobci armatur.
Rádi vám poradíme s řešením!
Volejte + 420 702 120 202
Pište na info@novalinea.cz
| Výrobní společnost : | Valvex SA |
|---|---|
| Adresa : | Nad Skawą 2, 34-240 Jordanów, Polsko |
| E-mail : | valvex@valvex.com |


