KRAMER pojistný ventil 1" vnitřní závit
Kód: 0334 0105 0106 0107 0109 0111 0112 Zvolte variantu


Související produkty
Detailní popis produktu
KRAMER pojistný ventil 1" vnitřní závit
Popis:
- pro rozvody vody a topení
- jako bezpečnostní armatura pro topné systémy
- projekční podklady pošleme na vyžádání
- připojení G 1"
- maximální pracovní tlak 10 bar
- otevírací tlak 1,8 bar; 2,5 bar; 3 bar, 4 bar, 6 bar, 8 bar, 10 bar
- maximální pracovní teplota 110 °C
- médium voda
- vyrobeno v Itálii
Použití:
- k regulaci tlaku vody v topných okruzích a v zásobníkových ohřívačích vody
- po dosažení reakčního (kritického) tlaku se ventil otevře a vypustí přetkal ze systému do volného prostoru mimo topný okruh
- zabraňuje tím navýšení tlaku v systému a i případnému poškození komponent ve topném okruhu systému
Materiál:
- tělo mosaz CW617N
- těsnění EPDM
- pružina ocel EN 12270-1
- vršek ABS (Akrylonitrilbutadienstyren)
Instalace:
Abyste se vyhnuli problémům způsobeným nesprávnou montáží a uvedením do provozu, je vhodné se řídit pokyny výrobce. Vezměte prosím na vědomí, že nárok na záruku zaniká v případě neoprávněných úprav nebo zásahů během montáže a uvedení do provozu.
! Před instalací si pečlivě prostudujte montážní návod !
Horizontálně i vertikálně
Nejlépe kolmo ve směru šipky na těle ventilu
Nikdy ne s vrškem dolů (obráceně, vzhůru nohama)
Doporučení:
- správnou funkci pojistného ventilu musí před uvedením do provozu a následně pak alespoň jednou ročně zkontrolovat odborný technik
- pokud membránový pojistný ventil neustále kape, je to obvykle způsobeno nečistotami ve ventilu
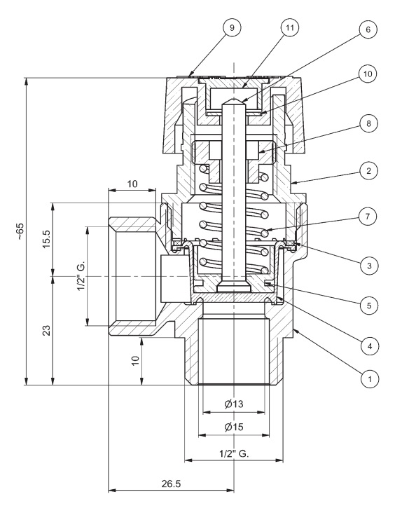
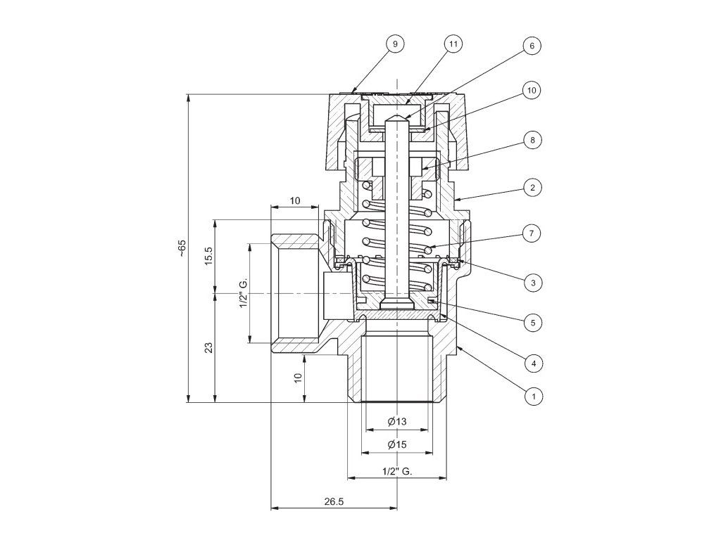
Rozměr:

1 tělo, 2 matice těla ventilu, 3 podložka membrány, 4 membrána zástrčky, 5 zástrčka, 6 dřík, 7 pružina, 8 stavěcí šroub, 9 krytka, 10 zámek pružiny, 11 víčko
Kramer Italia S.R.L.
Společnost Kramer Italia S.R.L., založená v roce 1974, vyrábí pojistné ventily, automatické plnicí ventily, odvzdušňovací ventily, motorizované zónové ventily, plynové kohouty, redukční ventily a různé komponenty pro topný, hydraulický, plynový a solární sektor; společnost také podporuje velké výrobce plynových kotlů a kotlů na biomasu tím, že jim dodává mosazné hydraulické jednotky a související speciální položky. Produkty pro trh OEM jsou vysoce diverzifikované, aby vyhovovaly potřebám všech zákazníků.
Rádi vám poradíme s řešením!
Volejte + 420 702 120 202 nebo pište na info@novalinea.cz.
Doplňkové parametry
| Kategorie: | Pojistné ventily pro topné systémy |
|---|---|
| Záruka: | 24 měsíců |
| Použití: | voda a topení |
| Provedení: | pojistný ventil |
| Připojení: | 1" |
| Otevírací tlak: | 1,8 bar, 10 bar, 2,5 bar, 3 bar, 4 bar, 6 bar, 8 bar |
| Výrobce: | Kramer Italia S.R.L., Itálie |
| ? Instalace: | horizontálně i vertikálně |
| ? Materiál: | mosaz |
| Médium: | voda |
| Provozní teplota: | 0 °C +110 °C |
| Provozní tlak: | PN 10 |
| ? Vršek: | ABS |
Hodnocení produktu
Buďte první, kdo napíše příspěvek k této položce.
Diskuze
Buďte první, kdo napíše příspěvek k této položce.
Kramer Italia – Ventilová technika pro topné a plynové systémy
Kramer Italia S.R.L. je italský výrobce, který od roku 1974 dodává špičkové komponenty pro topení, plyn, vodu a solární technologie. Díky rozsáhlému sortimentu, který zahrnuje mimo jiné pojistné ventily, odvzdušňovací a plnicí ventily, motorizované zónové ventily nebo plynové kohouty, patří mezi přední dodavatele v oboru.
✅ Komplexní sortiment ventilů: pro topné, plynové a solární systémy
✅ Řešení pro OEM partnery: výroba mosazných hydraulických jednotek na míru
✅ Tradice a inovace: od roku 1974 zkušenosti s výrobou pro průmyslové i domácí použití
Kramer Italia podporuje i největší výrobce plynových a peletových kotlů, kterým dodává komponenty přesně podle specifikací. Společnost tak hraje klíčovou roli ve výrobních řetězcích OEM partnerů po celé Evropě.
Rádi vám poradíme s řešením!
Volejte + 420 702 120 202
Pište na info@novalinea.cz
| Výrobní společnost : | Kramer Italia S.R.L. |
|---|---|
| Adresa : | Via Matteotti, 1 13864 Crevacuore (BI) Italy |
| E-mail : | sales@kramer-italia.com |


