FORNARA 409E H-ventil reverzní 3/4"x3/4"EK regulační rohový (křížení)
Kód: 409E-E-IT-O


Související produkty
Detailní popis produktu
FORNARA 409E H-ventil reverzní 3/4"x3/4"EK regulační rohový (křížení)
Popis:
- pro rozvody vody a topení
- pro spodní připojení radiátoru
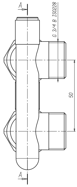
- pro dvoutrubkové připojení (rozteč 50 mm)
- projekční podklady pošleme na vyžádání
- možnost přednastavení průtoku (omezením zdvihu uzávěru ventilu)
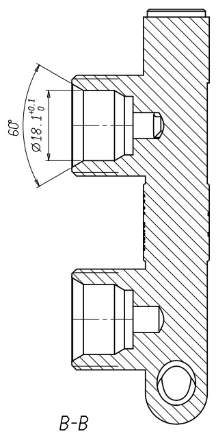
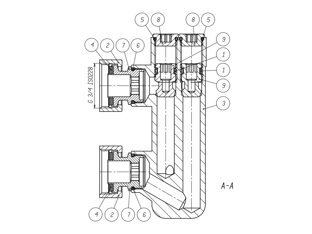
- připojení G 3/4"x3/4" Eurokonus
- provedení rohový
- těsnící o-kroužek a ploché těsnění
- maximální pracovní tlak 10 bar
- maximální diferenční tlak 1 bar
- maximální pracovní teplota 120 °C
- vyrobeno v Itálii
Použití:
- pro správné dopojení topné a vratné vody k deskovému radiátoru se spodním připojením v případě záměny přívodu a zpátečky


Materiál:


Instalace:
Abyste se vyhnuli problémům způsobeným nesprávnou montáží a uvedením do provozu, je vhodné se řídit pokyny výrobce. Vezměte prosím na vědomí, že nárok na záruku zaniká v případě neoprávněných úprav nebo zásahů během montáže a uvedení do provozu.
! Před instalací si pečlivě prostudujte montážní návod !
Řezání trubky
- chcete-li provést správný řez, použijte speciální řezák, abyste trubku nedeformovali v řezu a věnujte zvláštní pozornost tomu, aby byl řez kolmý k ose trubky
.
Zahlubování. Odstraňte otřepy z trubky po řezu.

Pokud má radiátor spodní připojení G 1/2", použijte do radiátoru adaptér M 532 (není součástí balení) a utáhněte jej.

Utáhněte převlečné matice H-ventilu na připojení k radiátoru.

Na spojení trubky s radiátorovým regulačním ventilem použijte specifickou tvarovku a těsnící prvky. Potom utáhněte tvarovku a ventil nejlépe momentovým klíčem.


Nastavení průtoku ventilu. A Odšroubujte plastovou krytku závitu ventilu. C Pomocí šestihranného imbusového klíče 6 nastavte požadovaný průtok. Otevřete (uzavřete) ventil o potřebný počet otáček. B Po nastavení průtoku našroubujte plastovou krytku zpět na závit ventilu a bez použití nadměrné sily krytku dotáhněte.

Těsnost H-ventilu je zajištěna o-kroužkem a plochým těsněním uvnitř zátky. V uzavřené poloze je těsnost zajištěna o-kroužkem a kuželovým kovovým nákružkem.
Rozměr:




Fornara S.p.A.
Společnost Fornara S.p.A. byla založena v roce 1979. Po akvizici velkého segmentu anglického trhu se současná politika řídí jak požadavky na specifické produkty pro různé mezinárodní trhy, tak distribucí vlastní linky vyráběné 100% v Itálii, pro sektory jako topení, voda a plyn. Působí na ploše přes 6 200 m2.
V roce 1997 získána firemní certifikace UNI EN ISO 9000 (nyní 9001).
- od roku 1979
- komponenty pro topení, vodu, plyn
- vše 100 % Made in Italy
- certifikace ISO 9001: 2015
- zakázková výroba speciálních komponentů
- výroba OEM
- pečlivá kontrola kvality
- vlastní výzkum a vývoj
Pokud si nejste jisti, poradíme vám s řešením!
Volejte + 420 702 120 202 nebo pište na info@novalinea.cz.
Doplňkové parametry
| Kategorie: | H-ventil křížení |
|---|---|
| Záruka: | 24 měsíců |
| Hmotnost: | 0.507 kg |
| Použití: | voda a topení |
| Provedení: | h-ventil (křížení), rohový |
| Připojení G 3/4" Eurokonus: | 3/4" |
| Výrobce: | Fornara S.p.A. |
| ? Materiál: | CW617N |
| Provozní teplota: | 0 °C +120 °C |
| Provozní tlak: | PN 10 |
| Regulace: | uzavírací |
| ? Těsnění: | o-kroužek a ploché těsnění |
Fornara S.p.A. : Company Presentation / Presentazione Aziendale
Hodnocení produktu
Buďte první, kdo napíše příspěvek k této položce.
Diskuze
Buďte první, kdo napíše příspěvek k této položce.
Fornara – Italská kvalita pro topení, vodu a plyn
Společnost Fornara S.p.A. působí na trhu již od roku 1979 a specializuje se na výrobu komponentů pro topné systémy, vodovody a plynové rozvody. Všechny produkty jsou 100% vyráběny v Itálii a firma klade důraz na kvalitu, flexibilitu a inovace. Díky dlouhodobému výzkumu a vývoji dokáže Fornara reagovat na specifické požadavky různých mezinárodních trhů a nabízí také OEM výrobu a zakázkové řešení.
✅ Komponenty pro topení, vodu a plyn: armatury, fitinky a spojky navržené pro spolehlivost a bezpečnost
✅ Certifikace ISO 9001:2015: garantovaná kvalita a důsledná kontrola každého výrobku
✅ Zakázková a OEM výroba: flexibilní řešení pro specifické potřeby zákazníků
Díky vlastnímu výzkumnému oddělení a výrobnímu závodu o rozloze přes 6 200 m² je Fornara spolehlivým partnerem pro instalatéry, projektanty i výrobce zařízení po celé Evropě.
Rádi vám poradíme s řešením!
Volejte + 420 702 120 202
Pište na info@novalinea.cz
| Výrobní společnost : | Fornara S.p.A. |
|---|---|
| Adresa : | Via Resiga 40 28021 Borgomanero (NO) - Italia |
| E-mail : | info@fornaraspa.it |

