ECOFOREST HIDROCOPPER 18 kW kamna na pelety voda
Kód: 20927 20926 Zvolte variantu


Detailní popis produktu
ECOFOREST HIDROCOPPER 18 kW kamna na pelety voda
Popis:
- vhodné i pro vytápění pasivního domu (kamna jsou vzduchotěsná)
- automatická regulace odtahu spalin, podávání paliva a průtoku oběhového čerpadla
- elektronická regulace teploty topné a vratné vody (zpátečky) bez nutnosti použití směšovacího ventilu
- zónová regulace topení, ohřevu zásobníku TUV, akumulační nádrže a zásobníku paliva
- vlastní software ECOFOREST
- ovládání přes Wifi a webové rozhraní
- ovládání a programování podle teploty v místnosti nebo podle výkonu
- možnost více druhů paliva (pelety, mandlové skořápky, olivové pecky)
- vakuový systém čištění
- vícenásobné bezpečnostní systémy
- litinové topeniště
- litinový kotlík
- nerezový výměník tepla
- včetně oběhového čerpadla, expanzní nádoby a pojistného ventilu
- možnost obrácení čisticích rukojetí
- přední černé tvrzené sklo
- projekční podklady pošleme na vyžádání
- vyrobeno ve Španělsku
Technické vlastnosti:
- výkon 18 kW
- výkon do vody 15,5 kW
- výkon do vzduchu 2,5 kW
- účinnost 95 %
- zásobník paliva 23 kg
- doba hoření podle regulace 12-6 h
- spotřeba paliva podle regulace 2-3,9 kg/h
- hmotnost 133 kg
- rozměr bez obalu 400x617x1139 mm
- přívod vzduchu pr. 60 mm
- odvod spalin pr. 100 mm
Použití:
- ekologické vytápění objektu a ohřev TUV bez emisí. Vhodné i pro vytápění pasivního domu
Rozměr:


Instalace:
Abyste se vyhnuli problémům způsobeným nesprávnou montáží a údržbou, je nutné se řídit pokyny výrobce.
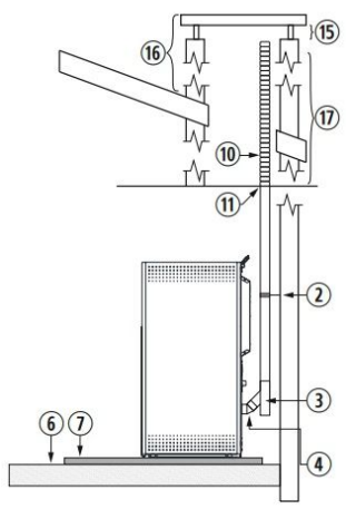
UMÍSTĚNÍ A BEZPEČNÉ VZDÁLENOSTI




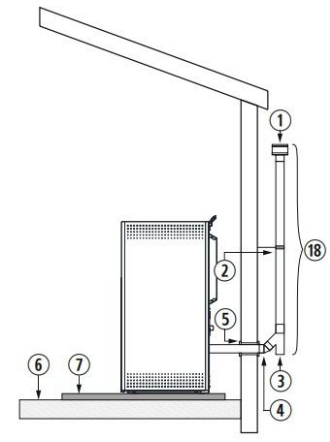
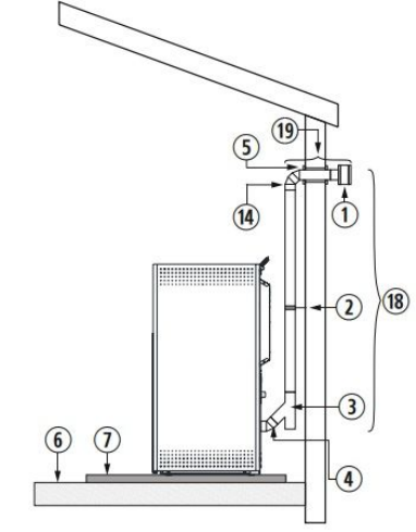
PŘÍKLADY INSTALACÍ SPALINOVÉ CESTY/KOUŘOVODŮ








Styčné plochy mezi kouřovodem a případnými hořlavými povrchy musí být dokonale odizolovány.
PŘÍKLADY VZDUCHOTĚSNÉ/PASIVNÍ INSTALACE




Minimální požadavky na palivo:
- kamna ECOFOREST jsou navržena pro provoz s dřevěnými peletami, mohou ale pracovat i s jinými palivy z biomasy (zeptejte se na to svého prodejce)
- pokud je možné používat jiný druh biomasy, zvolte jej v nabídce v ovládání kamen pro výběr paliva (viz návod k obsluze)
- ve většině případů není spalovací kotlík stejný jako u dřevěných pelet (lze dokoupit)
- společnost ECOFOREST nemá žádnou kontrolu nad kvalitou používaného paliva
- společnost ECOFOREST nemůže zaručit plný výkon vašich kamen a ani zamezit případnému poškození kamen a spalinové cesty použitím nekvalitního paliva

Životní prostředí:
Likvidace výrobku musí proběhnout v souladu s platnými místními právními předpisy.
BIOMASA ECOFORESTAL DE VILLACAÑAS, S.L.U.
Ecoforest je technologický lídr v oblasti udržitelného vytápění, který se specializuje na výrobu a distribuci vysoce kvalitních peletových kamen a kotlů. Společnost byla založena v Španělsku a od svého vzniku v roce 1992 se zaměřuje na výrobu efektivních, ekologických a energeticky úsporných produktů, které pomáhají uživatelům snižovat ekologickou stopu a náklady na vytápění.
V roce 1992 byla Ecoforest prvním výrobcem peletových kamen v Evropě, což ji postavilo na mapu jako průkopníka v oblasti obnovitelných zdrojů energie. Od té doby se značka neustále rozvíjí a přináší nové technologické inovace, včetně teplených čerpadel s inverterovou technologií Copeland, které byly uvedeny na trh v roce 2012. V roce 2018 společnost otevřela nové ústředí a zvýšila svou výrobní kapacitu o 300 %.
Klíčové oblasti výrobků Ecoforest:
- Peletová kamna a kotle
- Tepelná čerpadla (zejména země-voda)
- Obnovitelné zdroje energie a ekologické vytápění
Ecoforest se neustále zaměřuje na inovace, aby svým zákazníkům nabízela vysokou energetickou účinnost a produkty, které jsou šetrné k životnímu prostředí, a zároveň poskytují ekonomické řešení pro domácnosti i komerční objekty.
Rádi vám poradíme s řešením!
Volejte + 420 702 120 202 nebo pište na info@novalinea.cz.
Doplňkové parametry
| Kategorie: | Kamna na pelety voda (sálavá) s ohřevem vody |
|---|---|
| Záruka: | 24 měsíců |
| EAN: | Zvolte variantu |
| Barva: | bílá, černá |
| Použití: | voda a topení |
| Provedení: | kamna s teplovodním výměníkem |
| Výkon: | 18 kW |
| Výkon do vody: | 15,5 kW |
| Výrobce: | BIOMASA ECOFORESTAL DE VILLACAÑAS, S.L.U. |
| ? Palivo 1: | dřevěné pelety |
| ? Palivo 2: | drcené pecky z oliv |
| ? Palivo 3: | drcené skořápky z mandlí |
| Kapacita zásobníku paliva: | 23 kg |
| ? Doba hoření podle regulace: | 12-6 h |
| ? Spotřeba paliva podle regulace: | 2-3,9 kg/h |
| ? Odvod spalin: | pr. 100 mm |
| ? Přisávání vzduchu: | pr. 60 mm |
| Rozměr kamen: | 400x617x1139 mm |
| Rozměr kamen vč. obalu: | 450x680x1255 mm |
| Hmotnost kamen: | 133 kg |
| Hmotnost kamen vč. obalu: | 148 kg |
| Účinnost kamen: | 95 % |
| ? Projekční podklady: | ano |
| ? Pasivní dům: | ano |
| ? Mobilní aplikace: | ano |
| ? Webové rozhraní: | ano |
Hidroestufa Hidrocopper 18 - Poêle hydro Hidrocopper 18 – Hidro salamandra Hidrocopper 18
Nueva sede (New headquarters) - Ecoforest
This is Ecoforest - Esto es Ecoforest
Hodnocení produktu
Buďte první, kdo napíše příspěvek k této položce.
Diskuze
Buďte první, kdo napíše příspěvek k této položce.
Ecoforest – Průkopník udržitelného vytápění z obnovitelných zdrojů
Španělská společnost Ecoforest (BIOMASA ECOFORESTAL DE VILLACAÑAS, S.L.U.) působí na trhu od roku 1992 a patří mezi technologické lídry v oblasti ekologického vytápění. Jako první výrobce peletových kamen v Evropě se Ecoforest od počátku zaměřuje na vývoj účinných a energeticky úsporných produktů, které přispívají ke snižování uhlíkové stopy a nákladů na energie.
✅ Široké portfolio produktů: peletová kamna, kotelní systémy, tepelná čerpadla země–voda
✅ Inovace a vývoj: první inverterová tepelná čerpadla s technologií Copeland již v roce 2012
✅ Udržitelný růst: moderní sídlo a trojnásobná kapacita výroby od roku 2018
Ecoforest neustále investuje do výzkumu a vývoje s cílem nabídnout řešení pro ekologické a ekonomické vytápění domácností i komerčních budov. Je synonymem pro obnovitelné zdroje energie a technologickou špičku v oblasti udržitelného vytápění.
Rádi vám poradíme s řešením!
Volejte + 420 702 120 202
Pište na info@novalinea.cz
| Výrobní společnost : | Ecoforest (BIOMASA ECOFORESTAL DE VILLACAÑAS, S.L.U.) |
|---|---|
| Adresa : | Parque Empresarial Porto do Molle, Rúa das Pontes, 25, 36350 Nigrán, Pontevedra, Španělsko |
| E-mail : | info@ecoforest.com |


