ECOFOREST ECO MINI INSERT 8 kW kamna na pelety vzduch (sálavá)
Kód: 20932


Detailní popis produktu
ECOFOREST ECO MINI INSERT 8 kW kamna na pelety vzduch (sálavá)
Popis:
- vhodné i pro vytápění pasivního domu (kamna jsou vzduchotěsná)
- automatická regulace odtahu spalin, podávání paliva a vyfukovaného horkého vzduchu
- vlastní software ECOFOREST
- ovládání přes Wifi a webové rozhraní
- ovládání a programování podle teploty v místnosti nebo podle výkonu
- možnost více druhů paliva (pelety, mandlové skořápky, olivové pecky)
- vakuový systém čištění
- vícenásobné bezpečnostní systémy
- litinové topeniště
- trubkový výměník tepla z nerezové oceli bez nutnosti každodenního čištění
- nakládací dvířka (volitelné)
- režim ecoSILENCE
- projekční podklady pošleme na vyžádání
- vyrobeno ve Španělsku
Technické vlastnosti:
- výkon 8 kW
- účinnost 95 %
- zásobník paliva 15 kg
- doba hoření podle regulace 18-8 h
- spotřeba paliva podle regulace 0,8-1,8 kg/h
- hmotnost 77 kg
- rozměr bez obalu 634x592x532 mm
- přívod vzduchu (přisávání) pr. 60 mm
- odvod spalin pr. 80 mm
- vytápěná plocha 85 m2
Použití:
- ekologické vytápění objektu bez emisí
Rozměr:




1 odvod spalin pr. 80 mm
2 přívod vzduchu (nasávání) pr. 60 mm
Instalace:
Abyste se vyhnuli problémům způsobeným nesprávnou montáží a uvedením do provozu, je vhodné se řídit pokyny výrobce.
Vezměte prosím na vědomí, že nárok na záruku zaniká v případě neoprávněných úprav nebo zásahů během montáže a uvedení do provozu.
! Před instalací si pečlivě prostudujte montážní návod !
Při doplňování paliva do kamen musíme otevřít kryt násypky a palivo opatrně nasypat do násypky těsně po okraj.
Po doplnění paliva do násypky se ujistěte, že je víko násypky správně zavřené.
Neotevírejte zásobník a nedoplňujte palivo, pokud jsou kamna v provozu.

1 kryt kamen
2 palivo
MONTÁŽ VESTAVNÝCH KAMEN
Rozměr bočních větracích otvorů udává efektivní plochu průchodu vzduchu skrz ně.
Pokud je umístěna dekorativní mřížka, musí se účinná plocha průchodu vzduchu uvedené mřížky shodovat s účinnou plochou průchodu otvorů, přičemž se mění rozměry (výška a/nebo šířka) mřížek, aby se dosáhlo správné plochy průchodu vzduchu.


1 efektivní oblast mřížky na levé straně ≥ 200 x 120 mm
2 efektivní oblast mřížky vpravo ≥ 200 x 120 mm
3 odizolovaný odtah spalin Ø 80 mm
Ecoforest zaručuje správný provoz kamen pouze při dodržení rozměrů a polohy ventilačních mřížek.
Pokud instalace neumožňuje respektovat umístění ventilačních mřížek, je třeba vzít v úvahu standardní opatření vestavěných instalací (viz UMÍSTĚNÍ A BEZPEČNÉ VZDÁLENOSTI), aby se zabránilo nadměrné teplotě na elektronické desce a teplotní sondě.
Doporučuje se mít jednu z ventilačních mřížek ve výšce CPU, aby se usnadnilo jeho chlazení a revize.

A boční stěna hořlavá ≥ 650 mm
A boční stěna nehořlavá ≥ 420 mm
B zadní strana kamen ≥ 80 mm
C otevřená dvířka a hloubka kamen. Viz rozměry
D kryt ≥ 500 mm
1 ventilační mřížka. POVINNÁ. Užitná plocha ≥ 456 cm2x2
2 izolované výstupní plynové potrubí v zásuvce. POVINNÉ Ø 80mm

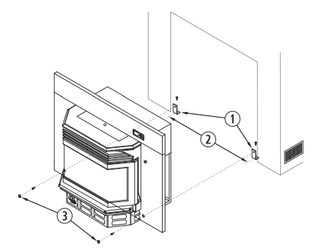
V případě krbových vložek je nutné přišroubovat 2 vinkly (úhelníky) k podlaze (1) a poté je zajistit šrouby zepředu (2).
1 úhelník připevněný k podlaze 2 ks
2 vzdálenost 654 mm
3 nasaďte rám kamen na úhelníky a nasaďte ozdobnou krytku 2 ks
Vzdálenosti jsou u všech modelů stejné.

1 otevřete dvířka topeniště 1 ks
2 vyjměte šrouby ze sloupků 2 ks na každé straně
3 otevřené boční sloupky 2 ks
4 upevňovací otvory 2 ks
UMÍSTĚNÍ A BEZPEČNÉ VZDÁLENOSTI

A od boční stěny ≥ E
B minimální vzdálenost, která umožňuje přečíst štítek s označením kamen ≥ 80 mm
C 1,5 x hloubka kamen (viz rozměr kamen)
D minimální vzdálenost od police ≥ 500 mm
E hloubka kamen (viz rozměr kamen)

A Vzdálenost od větrací mřížky 500 mm
B Vzdálenost od větrací mřížky 500 mm
C Boční strana okna 1 250 mm
D Horní část okna 650 mm
E Horní část dveří 650 mm
F Boční strana dveří 1 250 mm
G Přilehlá stěna 300 mm
H Výška přilehlé stěně 2 300 mm
I Od přilehlé budovy 650 mm
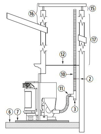
PŘÍKLADY INSTALACÍ SPALINOVÉ CESTY/KOUŘOVODŮ
Pokud celková délka instalovaného odkouření přesáhne 8 m, doporučujeme zvětšit průměr potrubí tak, aby měla celá sestava stejný průměr už od napojení kamen.
Pokud to nelze, potom zvětšit průměr potrubí spalinové cesty od 4 m výše.
Níže uvedená instalace je ta, kterou doporučuje společnost Ecoforest pro lepší výkon kamen.
Minimální délka vnitřního horizontálního odkouření je 2 m.

1 větruodolné zakončení kouřovodu
2 objímka z nerezové oceli
3 revizní a čistící T-kus
5 izolace/průchodka/chránička
6 podlaha
7 nehořlavá izolační deska
14 90° koleno
18 vertikální délka odkouření ≥ 2 m
19 horizontální délka odkouření max. 1 m
Venkovní instalace kouřovodu pomocí dvouplášťových trubek s izolací

1 větruodolné zakončení kouřovodu
2 objímka z nerezové oceli
3 revizní a čistící T-kus
5 izolace/průchodka/chránička
6 podlaha
7 nehořlavá izolační deska
14 90° koleno
18 vertikální délka odkouření ≥ 2 m
Při montáži odkouření do komína je třeba dbát na dokonalé utěsnění mezi ohebným a pevným potrubím a také na umístění izolace ve styčných plochách mezi potrubím a případnými hořlavými plochami.
Konec trubky může být ponechán uvnitř samotného komína, s ohledem na jeho otvor.
Po dokončení instalace musíme izolovat komín od interiéru domu.

2 objímka z nerezové oceli
3 revizní a čistící T-kus
6 podlaha
7 nehořlavá izolační deska
10 flexi odkouření/husí krk
11 izolační pouzdro pro pevné a flexi spoje
15 vzdálenost min 200 mm
16 přesah přes střechu min 1 m
17 pokud je trubka kouřovodu delší než 8 m, použijte se nejbližší větší velikost
Instalace odtahu spalin do komína může být také provedena zcela v ohebné trubce (viz níže na obrázku).
Přechodu mezi komínem a flexi trubkou odtahu spalin musí být správně zaizolován.
Při špatné izolaci může dojít k zpětnému přisávání spalin při náhlé změně atmosférického tlaku (např. při bouřce).
Při instalaci flexi odtahu spalin dávejte pozor, aby se nedotýkala hořlavého materiálu nebo byla v jejich blízkosti.

2 objímka z nerezové oceli
3 revizní a čistící T-kus
6 podlaha
7 nehořlavá izolační deska
10 flexi odkouření/husí krk
11 pevná až pružná spojovací manžeta
12 manžeta/izolátor proti zpětnému rázu
15 vzdálenost min 200 mm
16 přesah přes střechu min 1 m
17 pokud je trubka kouřovodu delší než 8 m, použijte se nejbližší větší velikost )
Styčné plochy mezi kouřovodem a případnými hořlavými povrchy musí být dokonale odizolovány.
PŘÍKLADY VZDUCHOTĚSNÉ INSTALACE PRO PASIVNÍ DOMY
Pomocí DIFLUX potrubí
Odtah spalin a vstup přisávaného venkovního vzduchu jsou napojeny na kouřovod/koncentrickou trubku DIFLUX.
Po napojení vstupu přisávaného vzduchu, který bude bezprostředně venku, musí být ostatní části potrubí s dvojitou stěnou.

1 přívod vzduchu do kamen
2 přisávání z venku
3 vertikální 2 plášťové odkouření ≥ 2m
4 větruodolné zakončení kouřovodu
5 napojení kamen na odtah spalin
6 objímka z nerezové oceli
Přívod vzduchu napojený přímo na exteriér

1 napojení kamen na odtah spalin
2 přisávání z venku
3 vertikální 2 plášťové odkouření ≥ 2m
4 větruodolné zakončení kouřovodu
6 objímka z nerezové oceli
PŘIPOJENÍ OVLADAČE KLÁVESNICE, WIFI ANTÉNY, NAPÁJECÍHO KABELU A POKOJOVÉHO TERMOSTATU
Návod k instalaci a údržbě, Uživatelský manuál, WiFi anténa, napájecí kabel, pokojová sonda a čisticí kartáček jsou umístěny v papírové krabici v topeništi uvnitř kamen.
CZ překlady Návod k instalaci a údržbě a Uživatelský manuál zasíláme elektronicky a jsou ke stažení v Souvisejících souborech na kartě produktu.

1 šrouby pro podporu klávesnice
2 podpora s namontovanou klávesnicí
3 připojovací kabel klávesnice a CPU
4 zadní strana klávesnice
5 připojení pokojového čidla
6 připojení napájení ~230/240V-50Hz
7 pokojové čidlo

3 připojovací kabel klávesnice a CPU
4 zadní strana klávesnice
5 připojení pokojového čidla
6 připojení napájení ~230/240V-50Hz
7 pokojové čidlo
Přišroubujte anténu Wi-Fi k dokovací stanici s magnetem.
Tato magnetická základna musí být přilepena na zadní stranu kotle.
Po sestavení musí jednotka zůstat ve svislé poloze.

1 anténa
2 dokovací stanice s magnetem
Umístěte anténu WiFi s dokovací stanicí s magnetem na vhodné místo na zadní stranu kamen.
Vyvarujte se, aby se v okolí antény nevyskytovalo nějaké kovové stínění/překážka.
Takové stínění zkresluje signál WiFi.

Šíření WiFi signálu - pohled shora.

WiFi půdorys signálu bez kovových předmětů kolem.
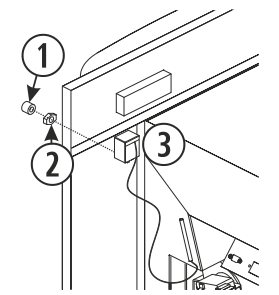
MONTÁŽ BEZPEČNOSTNÍHO TERMOSTATU DO MODELŮ VLOŽKY

Pokud máte kamna typu Eco I Insert, musíte bezpečnostní termostat upevnit na panely krbové vložky. Tyto panely mají otvor, kterým je třeba prostrčit termostat (3) a připevnit jej k objímce maticí (2) a nakonec přišroubovat zátku (1).
DOPORUČENÉ ČIŠTĚNÍ A ÚDRŽBA
Pro správný provoz kamen je nutná pravidelná údržba kamen a spalinové cesty.
Kamna musí být vždy mimo provoz a dostatečně vychladlá.
Poničení některých dílů kamen z důvodu nedostatečného čištění a údržby znamená ztrátu dvouleté záruky (viz Návod k instalaci a údržbě).
DENNÍ ÚDRŽBA
Kamna musí být vždy mimo provoz a dostatečně studená.
Výměník tepla (mimo model Eco mini)
Zatáhněte za páku hrabla – to se provádí při zavřených skleněných dvířkách kamen, aby popel zůstal uvnitř topeniště.
U modelu Ecoaire (nákres 20) a vložky Ecoaire je přístup k páce hrabla otevřením ozdobného roštu.

1 mřížka
2 páka hrabla
Hořák a topeniště
Vyčistěte hořák, topeniště, zkontrolujte otvory v kotlíku a vysajte všechny nečistoty.
Po vyčištění opět sestavte topeniště zpět.

Dvířka se sklem
Sklo vyčistěte jednoduše kouskem papíru nebo nanesením kapaliny na čištění skla kamen a setřete hadříkem.
Sklo musí být vždy studené.
TÝDENNÍ ÚDRŽBA
Popelník
S výjimkou modelu ECOAIRE, je popelníková zásuvka přístupná otevřením skleněných dvířek topeniště.
Vyčistěte popelník a vysajte veškeré nečistoty.

1 dvířka
2 zámek
3 zásuvka popelníku

1 dvířka topeniště
2 zásuvka popelníku
Horní deska kamen
U modelů Eco mini a Atenas je nutné provést větší čištění výměníku.
Musíte zatlačit nahoru horní desku kamen (1), abyste uvolnili západky, které ji připevňují ke středové desce, a vytáhněte ji.
Po dokončení vraťte horní desku zpět a ujistěte se, že jsou západky správně usazeny.

1 horní deska kamen
2 výměník tepla

1 horní deska topeniště
2 trubky výměníku tepla
3 upevňovací deska a šroub
UPOZORNĚNÍ:
Pokud kamna nebudete pravidelně čistit od vzniklých nečistot, může dojít k deformaci vnitřních dílů kamen (hořák s držákem, popelníková zásuvka, topeniště atd.) vlivem špatného provozu kamen.
Na takto vzniklou poruchu kamen se nemusí vztahovat záruka výrobce.
Špatně udržovaná kamna mají negativní vliv na správný provoz kamen.
PRAVIDELNÝ SERVIS A ÚDRŽBU NA KONCI TOPNÉ SEZÓNY NEBO KAŽDÝCH 500 KG SPOTŘEBOVANÉHO PALIVA
VÍCE INFORMACÍ NAJDETE V NÁVODU K INSTALACI A ÚDRŽBĚ
Minimální požadavky na palivo:
- kamna ECOFOREST jsou navržena pro provoz s dřevěnými peletami, mohou ale pracovat i s jinými palivy z biomasy (zeptejte se na to svého prodejce)
- pokud je možné používat jiný druh biomasy, zvolte jej v nabídce v ovládání kamen pro výběr paliva (viz návod k obsluze)
- ve většině případů není spalovací kotlík stejný jako u dřevěných pelet (lze dokoupit)
- společnost ECOFOREST nemá žádnou kontrolu nad kvalitou používaného paliva
- společnost ECOFOREST nemůže zaručit plný výkon vašich kamen a ani zamezit případnému poškození kamen a spalinové cesty použitím nekvalitního paliva

BIOMASA ECOFORESTAL DE VILLACAÑAS, S.L.U.
Ecoforest založil v roce 1959 Jose Carlos Alonso; jeho vizí bylo vyvíjet inovativní produkty, které budou jak ekonomické, tak ekologické, se záměrem učinit svět lepším místem. Dnes, o více než 50 let později, je Ecoforest technologickým lídrem v sektoru vytápění s řešeními založenými výhradně na čisté a přírodní energii.
1992 první výrobce peletových kamen v Evropě. V současné době má více než 30 modelů a mezinárodní zastoupení
1993 uveden do výroby první model peletkových kamen s ohřevem vody
2012 tepelná čerpadla Ecoforest. 1. tepelné čerpadlo země-voda s technologií Copeland Inverter
2018 nové ústředí Ecoforest- Zvýšení produkce o 300 %
Rádi vám poradíme s řešením!
Volejte + 420 702 120 202 nebo pište na info@novalinea.cz.
Doplňkové parametry
| Kategorie: | Kamna na pelety vzduch (sálavá) |
|---|---|
| Záruka: | 24 měsíců |
| Hmotnost: | 77 kg |
| EAN: | 8436541900899 |
| Barva: | černá |
| Použití: | voda a topení |
| Provedení: | krbová vložka vzduch |
| Výkon: | 8 kW |
| Výrobce: | BIOMASA ECOFORESTAL DE VILLACAÑAS, S.L.U. |
| Vytápěná plocha: | 85 m2 |
| ? Palivo 1: | dřevěné pelety |
| ? Palivo 2: | drcené pecky z oliv |
| ? Palivo 3: | drcené skořápky z mandlí |
| Kapacita zásobníku paliva: | 15 kg |
| ? Doba hoření podle regulace: | 18-8 h |
| ? Spotřeba paliva podle regulace: | 0,8-1,8 kg/h |
| ? Odvod spalin: | pr. 80 mm |
| ? Přisávání vzduchu: | pr. 60 mm |
| Rozměr kamen: | 634x592x532 mm |
| Rozměr kamen vč. obalu: | 740x681x681 mm |
| Hmotnost kamen: | 77 kg |
| Hmotnost kamen vč. obalu: | 93 kg |
| Účinnost kamen: | 95 % |
| ? Projekční podklady: | ano |
| ? Pasivní dům: | ano |
| ? Mobilní aplikace: | ano |
| ? Webové rozhraní: | ano |
Nueva sede (New headquarters) - Ecoforest
This is Ecoforest - Esto es Ecoforest
Hodnocení produktu
Buďte první, kdo napíše příspěvek k této položce.
Diskuze
Buďte první, kdo napíše příspěvek k této položce.
Ecoforest – Průkopník udržitelného vytápění z obnovitelných zdrojů
Španělská společnost Ecoforest (BIOMASA ECOFORESTAL DE VILLACAÑAS, S.L.U.) působí na trhu od roku 1992 a patří mezi technologické lídry v oblasti ekologického vytápění. Jako první výrobce peletových kamen v Evropě se Ecoforest od počátku zaměřuje na vývoj účinných a energeticky úsporných produktů, které přispívají ke snižování uhlíkové stopy a nákladů na energie.
✅ Široké portfolio produktů: peletová kamna, kotelní systémy, tepelná čerpadla země–voda
✅ Inovace a vývoj: první inverterová tepelná čerpadla s technologií Copeland již v roce 2012
✅ Udržitelný růst: moderní sídlo a trojnásobná kapacita výroby od roku 2018
Ecoforest neustále investuje do výzkumu a vývoje s cílem nabídnout řešení pro ekologické a ekonomické vytápění domácností i komerčních budov. Je synonymem pro obnovitelné zdroje energie a technologickou špičku v oblasti udržitelného vytápění.
Rádi vám poradíme s řešením!
Volejte + 420 702 120 202
Pište na info@novalinea.cz
| Výrobní společnost : | Ecoforest (BIOMASA ECOFORESTAL DE VILLACAÑAS, S.L.U.) |
|---|---|
| Adresa : | Parque Empresarial Porto do Molle, Rúa das Pontes, 25, 36350 Nigrán, Pontevedra, Španělsko |
| E-mail : | info@ecoforest.com |


