BARBERI 37G DN 25 směšovací čerpadlová skupina se servomotorem
Kód: 37G02500X 37G02500H 37G02500U Zvolte variantu


Související produkty
Detailní popis produktu
BARBERI 37G DN 25 směšovací čerpadlová skupina se servomotorem
Popis:
- pro rozvody vody a topení
- jako směšovací čerpadlová skupina pro podlahové/sálavé vytápění a vysokoteplotní systémy
- projekční podklady pošleme na vyžádání
- kotlové připojení G 6/4" M x 1" F
- rozteč připojení 125 mm
- provedení přívod vpravo
- provedení s variabilní regulační jednotkou DN 25
- provedení se servomotorem
- provedení reverzibilní
- provedení bez čerpadla
- provedení s čerpadlem Grundfos UPM3 AUTO 25-70 180
- provedení s čerpadlem Wilo Para 25-180/7-50/SC-12
- čerpadlo středová vzdálenost 180 mm
- elektrické napájení 230 V-50/60 Hz
- provedení s tepelnou izolací
- tepelná vodivost: 0,04 W/(mK)
- maximální pracovní tlak 10 bar
- maximální pracovní teplota 5-90 °C
- stupnice teploměru 0–120 °C
- médium voda a 30 % roztoky glykolu, které nejsou nebezpečné, vyloučené ze směrnice 67/548/ES
- vyrobeno v Itálii
Materiál:
- motorický směšovací ventil mosaz CW617N
- kulové kohouty a armatury mosaz CW617N
- izolační plášť EPP, hustota: 60 kg/m3
Použití:
- jako čerpadlová/směšovací skupina pro regulaci/směšování topné vody při proměnné teplotě
- umožňuje cirkulaci topné kapaliny přicházející z primárního okruhu úpravou její teploty pomocí motorického směšovacího ventilu
- používá se v topných systémech obecně a v systémech sálavého/podlahového topení s regulací výstupní teploty na základě pokojové a venkovní teploty
Složení:


1 Čerpadlo Grundfos UPM3 AUTO 25-70 180 nebo Wilo Para 25-180/7-50/SC-12
2 Uzavírací kulový ventil
3 Uzavírací kulový ventil se zpětnou klapkou
4 Uzavírací kulový ventil teploměrem
5 Motorizovaná řídící/směšovací jednotka
6 Připojení/prodloužení
7 T-kus
8 Izolace
Rozměr:




Vlastnosti:

1 Přední izolační plášť horní a spodní část
2 Zadní izolační plášť
3 Centrální přední izolační plášť
4 Průtokové potrubí (4) včetně motorizovaného směšovacího ventilu, uzavíracího ventilu, teploměru a čerpadla
5 Zpětné/vratné potrubí včetně kulového uzavíracího ventilu, zpětného ventilu a teploměru
Výhody
Úspora energie: přední (1) a zadní plášť (2) pomáhají tepelné izolaci skupiny a umožňují úsporu energie.
Čelní ovládání: všechna zařízení, jako je menu čerpadla, ukazatele teploty, uzavírací ventily a ve smíšených skupinách termostatický ventil a pohon, jsou čelní.
Rychlá regulace a kontrola funkčnosti, zejména při instalaci několika skupin velmi blízko sebe.
Zpětný ventil s předřazením: skupiny jsou z výroby vybaveny zpětným ventilem na vratném potrubí, který je umístěn v monobloku s modrým knoflíkem. Pootočením modrého knoflíku o 45° je možné funkci zpětného ventilu zrušit, čímž se umožní průchod vody oběma směry a výrazně se urychlí fáze plnění systému. Směšovací skupiny mají T-kus (šroubení), které spojuje směšovací ventil, vhodné pro vložení dalšího odnímatelného zpětného ventilu.
Všestrannost nástěnného držáku: 42D.DN25 (příslušenství) umožňuje instalaci skupiny s průtokem směrem nahoru, dolů nebo se skupinou položenou na boku. Věnujte však maximální pozornost správnému upevnění skupiny na stěnu při instalaci na boku.
Transformovatelnost/variabilita: v případě potřeby lze skupiny snadno transformovat z jedné verze na druhou (např. z přímé distribuční skupiny na termostatickou, smíšenou a naopak), protože mají společnou většinu komponent.
Stejné pohony pro všechny DN: motorizované skupiny DN 20 lze kombinovat se stejnými pohony řad DN 25 a DN 32, což umožňuje snížit počet nakupovaných modelů a tím i sklad.
Rozsah čerpadel: skupiny jsou k dispozici s různými modely čerpadel. Pro použití jiných modelů a/nebo výrobců doporučujeme Kontaktovat společnost Barberi pro ověření.
Plochá těsnění: různé součásti skupin jsou navzájem spojeny pomocí plochých těsnicích šroubení. Díky tomu je instalace rychlejší, protože se vyhnete použití konopí nebo jiných těsnicích materiálů.
Kabelové průchodky: izolace skupin je vybavena kabelovými průchodkami směřujícími nahoru a dolů, které umožňují bezpečné a úhledné uložení kabelů.
Přístupnost a manévrovatelnost připojovacích matic: zvednutím zadní izolace je možné vytvořit prostor potřebný k manévrování se všemi maticemi, a to pomocí vhodného šestihranného klíče, aniž by bylo nutné je demontovat. To je výhodou zejména při instalaci na stěnu nebo když za izolací prochází potrubí.
Matice se dodávají z výroby uvolněné/nedotažené, aby se usnadnila případná reverze čerpadlové skupiny před instalací do topného systému.
Před instalací čerpadlové skupiny do topného systému matice důkladně utáhněte.
Instalace:
Abyste se vyhnuli problémům způsobeným nesprávnou montáží a uvedením do provozu, je vhodné se řídit pokyny výrobce. Vezměte prosím na vědomí, že nárok na záruku zaniká v případě neoprávněných úprav nebo zásahů během montáže a uvedení do provozu. Instalaci každého hydraulického komponentu musí provádět kvalifikovaný personál, tzn. řádně proškolená a oprávněná osoba.

- Instalace na zeď
- Instalace na rozdělovače
Skupinu lze instalovat na rozdělovače s integrovaným hydraulickým separátorem, na standardní rozdělovače s nezávislým hydraulickým separátorem, na rozdělovače spojené se zásobníkem.

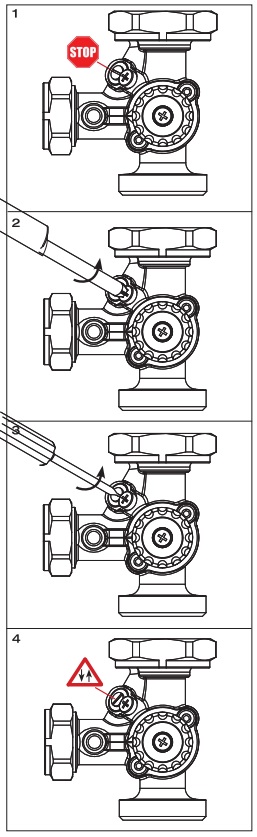
Skupinová reverzibilita
Čerpadlová skupina je z výroby nastavena s čerpadlem na pravé straně a průtokem nahoru (nebo jeho otáčením čerpadlem na levé straně a průtokem dolů).
Reverzibilita je povolena následujícím postupem:

1 Zcela odšroubujte nástavec z T-kusu (spojky) a čerpadlo ze směšovacího ventilu
2 Zaměňte skupinu „čerpadlo + monoblok s červeným knoflíkem“ za skupinu „prodloužení + monoblok s modrým knoflíkem“
3 Ponechte směšovací ventil a T-kus (spojku) v tovární poloze. V této nové konfiguraci bude směšovací ventil fungovat jako rozdělovací ventil
4 Přesuňte sondu regulátoru na nové průtokové potrubí za čerpadlo
5 Znovu připojte všechny součásti a zcela zašroubujte matice
Upozornění: kvůli přítomnosti zpětného ventilu ponechejte kulový uzavírací ventil s červeným ovládáním na potrubí čerpadla a modrým ovládáním na zpátečce. U některých modelů čerpadel je nutné elektronickou část otočit, aby se vlezla do izolace.
Pozice čerpadlové skupiny:

Skupinu lze instalovat jedním ze způsobů uvedených na obrázku, přičemž osa otáčení čerpadla je vždy vodorovná.
Nastavení směšovacího ventilu:


Motoricky ovládaný směšovací ventil upravuje teplotu průtoku topné vody smícháním horké topné vody z tepelného zdroje a studené vratné vody ze systému.
Teplotu směšované vody na průtoku soustavou (návrhovou hodnotu) lze získat kombinací ventilu s pohonem, který je řízen regulátorem.
Směšovací ventil je vybaven vestavěným nastavitelným obtokovým ventilem/by-passem (1), který spojuje zpětný port systému s portem pro směšovanou vodu. Použití by-passu umožňuje stabilnější regulaci, zejména pokud je teplota vstupní vody z tepelného zdroje mnohem vyšší než teplota smíšené vody (například: tepelný zdroj na biomasu na vstupu, přívod podlahového topení na výstupu).
Prostřednictvím by-passu je část vratné vody systému vždy posílána do výstupu směšované vody tak, aby byl regulátor nucen zvětšit otevření horkého portu ventilu.
V případě nepatrného rozdílu mezi vstupní teplotou horké vody z kotle/zdroje a teplotou směšované vody lze nastavení provést pouze přes by-pass, s plně uzavřeným zpětným ventilem.
Nastavení ventilu:
1 Nainstalujte knoflík (3) pomocí šroubu, který je součástí balení. Nastavte šipku knoflíku (3) do polohy 10, stav nulového směšování (vratný port zavřený, vstupní port horké vody otevřený. Aktivujte tepelný zdroj/kotel a počkejte, až dosáhne své nastavené pracovní teploty (vyšší než teplota směšované vody na průtoku systému). Aktivujte čerpadlovou skupinu
2 Povolte zajišťovací šroub obtoku (4)
3 Otevřete a upravte seřizovací šroub obtoku (5)
Zkontrolujte následující:
1 V nízkoteplotních systémech lze s tímto nastavením by-passu získat návrhovou teplotu směšované vody
2 Pokud nelze dosáhnout nastavené teploty směšované vody ani při plně otevřeném by-passu, nastavení je později optimalizováno pohonem a ovladačem, které správně otevřou vratný tok systému ventilu V tomto případě plně otevřený by-pass funguje jako omezovač průtokové teploty, protože snižuje teplotu vody o několik stupňů, zejména v případě přehřátí tepelného zdroje/kotle.
Plně utáhněte zajišťovací šroub (4), zavřete izolaci a nainstalujte pohon.
Instalace pohonu:
1 pohon
2 referenční kolečko
3 adaptér směšovacího ventilu
4 anti-rotační čep
5 zajišťovací šroub
Čerpadlové skupiny Barberi lze ovládat pohonem (M03.3).
Tento pohon je z výroby nainstalován přímo na čerpadlové skupině.
Při instalaci pohonu postupujte podle pokynů dodaných v balení.
Při instalaci na směšovací ventil postupujte následovně:

Nasaďte referenční kolečko (2) jako na levém obrázku (rozměry šipky rostou ve směru hodinových ručiček). Nasuňte referenční kolečko (2) do vodítek pohonu (1).

Ověřte, zda je indikátor na knoflíku ovladače v polovině chodu (tovární nastavení) a je zarovnán se zářezem na referenčním kolečku (2). Je-li to nutné, obnovte tuto konfiguraci stisknutím a otočením ovládacího knoflíku pohonu a poté jej uvolněte.

Nasaďte adaptér (3) na dřík ventilu a našroubujte anti-rotační kolík (4).

Otočte uzávěrem ventilu působícím na adaptér a umístěte značku na adaptéru (3) pod úhlem 45° mezi vstupem topné a vratné vody v systému (odpovídá polovině dráhy/chodu směšovacího ventilu).

Nasaďte pohon (1) jako na obrázku a zašroubujte zajišťovacím šroubem (5). Tato konfigurace odpovídá režimu směšování 50 % (vstup topná a vratná voda otevřen napůl).
Připojte pohon k 3 bodovému ekvitermnímu regulátoru nebo jinému zařízení schopnému takový pohon řídit, a regulovat tak teplotu přívodu v závislosti na venkovní a pokojové teplotě.
Řiďte se zde uvedeným schématem zapojení pohonu.

Tento postup platí i pro reverzní čerpadlovou skupinu.
Hydraulické charakteristiky:
tlakové ztráty motorizované čerpadlové/regulační skupiny bez čerpadla





Aplikace:

Barberi Rubinetterie Industriali S.r.l. a socio unico
Společnost Barberi Rubinetterie Industriali S.r.l., byla založena v roce 1954 jako samostatná společnost panem Aldo Barberi v malé vesnici v obci Valduggia, Itálie Hlavní činností Barberi Aldo Torneria Metalli byla výroba komponentů pro průmyslové ventily jménem třetích stran pomocí soustruhů poháněných vodní turbínou. Společnost mění svůj název a stává se: Aldo Barberi e Figli. Jsou vyrobeny první produkty značky Barberi: klapkové ventily, zpětné ventily a patní ventily a jsou přihlášeny první patenty. V současnosti je Barberi je rodinná firma, která již více než 60 let vyvíjí, vyrábí a distribuuje ventily a komponenty pro vytápění, instalatérství, průmysl a zemědělství. Barberi je také mezinárodně známý výrobce komponentů a příslušenství pro transformátory a elektrické stroje.
- Založena v roce 1954
- Výrobní plocha: 9 000 m2
- Počet zaměstnanců 80
- Ventily a komponenty pro topenářské, instalatérské, průmyslové a zemědělské systémy
- Alternativní energie
- Sanitární technika
- Průmysl a zemědělství

Doplňkové parametry
| Kategorie: | Čerpadlová skupina se servopohonem |
|---|---|
| Záruka: | 24 měsíců |
| EAN: | Zvolte variantu |
| Použití: | voda a topení |
| Provedení: | bez čerpadla, bez přípojení pro by-pass, čerpadlová skupina s variabilní regulační jednotkou, přívod vpravo, reverzibilní, s čerpadlem Čerpadlo Grundfos UPM3 AUTO 25-70 180, s čerpadlem Čerpadlo Wilo Para 25-180/7-50/SC-12, servopohon |
| Připojení: | 6/4"x1" |
| Teplota: | 5-90 °C |
| Tlak: | PN 10 |
| Výrobce: | Barberi Rubinetterie Industriali S.r.l. |
Hodnocení produktu
Buďte první, kdo napíše příspěvek k této položce.
Diskuze
Buďte první, kdo napíše příspěvek k této položce.
Barberi Rubinetterie Industriali – Italská tradice v oblasti ventilů a instalačních komponentů
Barberi Rubinetterie Industriali S.r.l. je italská rodinná firma s tradicí od roku 1954, která si vybudovala silné postavení na poli ventilů a komponentů pro topenářské, instalační a průmyslové systémy. Původně známá jako Barberi Aldo Torneria Metalli, začínala výrobou soustružených dílů poháněných vodními turbínami. Dnes patří mezi respektované evropské výrobce, kteří kladou důraz na inovace, kvalitu a technické zázemí.
✅ Ventily a komponenty pro topenářské a instalační systémy: široká škála produktů pro domácnosti i komerční objekty
✅ Řešení pro průmysl a zemědělství: robustní a odolné prvky navržené pro náročné provozy
✅ Komponenty pro alternativní energie a sanitární techniku: moderní produkty podporující udržitelnost
S více než 60 lety zkušeností, výrobní plochou o rozloze 9 000 m² a týmem přes 80 odborníků, nabízí Barberi spolehlivá řešení pro náročné aplikace. Firma si získala důvěru zákazníků po celé Evropě díky neustálé modernizaci a důsledné kontrole kvality. Barberi je synonymem pro italskou preciznost a technickou vyspělost.
Rádi vám poradíme s řešením!
Volejte + 420 702 120 202
Pište na info@novalinea.cz
| Výrobní společnost : | Barberi Rubinetterie Industriali s.r.l. a socio unico |
|---|---|
| Adresa : | Tel. 0039 0163 48284 - Fax 0039 0163 48287 Via Monte Fenera, 7 - 13018 Valduggia (VC) - ITALY Cod. Fisc. e P. IVA: 00252070024 |
| E-mail : | barberi@barberi.it |


