VALVEX ONYX kulový kohout s odvodněním FF páčka
Kód: 1452650


Související produkty
Detailní popis produktu
VALVEX ONYX kulový kohout s odvodněním FF páčka
Popis:
- pro rozvody vody a topení
- jako uzavírací armatura
- projekční podklady pošleme na vyžádání
- připojení 1/2", 3/4", 1", 5/4", 6/4", 2"
- provedení přímý
- ovládání ocelová páka
- maximální pracovní tlak 25 bar pro DN 15 - DN 25
- maximální pracovní tlak 16 bar pro DN 32 - DN 50
- maximální pracovní teplota 95 °C
- vyrobeno v Polsku
Použití:
- jako uzavírací armatura s odvodněním pro rozvody vody a topení
Materiál:

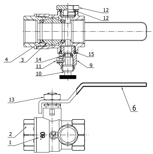
1 tělo ventilu, 2 matice těla ventilu, 3 koule, 4 těsnění koule, 5 vřeteno, 6 ovládání páka, 7 těsnění vřetene, 8 těsnění škrtící klapky, 9 korpus ventilu, 10 hlava ventilu, 11 čep trysky, 12 zátka, 13 nízká matice, 14, 15 o-kroužek
- tělo, matice, koule, vřeteno, nastavitelná vřetenová matice mosaz CW617N
- těsnění koule a vřetena PTFE (teflon)
- ovládací páka z uhlíkové oceli s plastovým nástřikem
- tělo a matice ventilu povrchová úprava nikl
- koule ventilu povrchová úprava chrom
Instalace:
Abyste se vyhnuli problémům způsobeným nesprávnou montáží a uvedením do provozu, je vhodné se řídit pokyny výrobce. Vezměte prosím na vědomí, že nárok na záruku zaniká v případě neoprávněných úprav nebo zásahů během montáže a uvedení do provozu.
! Před instalací si pečlivě prostudujte montážní návod !
Kulové kohouty jsou dvoupolohovou oddělující armaturou, tzn., že pracují výhradně v polohách: „úplně otevřeno“ nebo „úplně zavřeno“. Otevření a uzavření kohoutu pomocí ovládací páčky (6): otočení doprava – zavírání, otočení doleva – otevírání. V krajních polohách páčky je kohout plně zavřen (páčka směřuje kolmo k ose kohoutu) nebo otevřen (páčka je souběžně s osou kohoutu). Upozornění: V případě potřeby je možno čep (5) dotěsnit lehkým dotažením víčka ucpávky vřetene (8) očkovým klíčem (do okamžiku odstranění úniku).
Nasaďte vidlicový klíč na šestihranný (nebo osmihranný) konec ventilu na straně potrubí (pod páčkou, při poloze otevřeno) a našroubujte ventil na přívodní potrubí. Nepoužívejte klíč na opačný konec ventilu, abyste jej našroubovali na potrubí (ne závitový spoj, je vidět na řezu níže). Podobný postup použijte při demontáži ventilu. Použití jiných než výše uvedených metod může způsobit poškození nebo netěsnost ventilu. Na utěsnění závitů použijte doporučené těsnící materiály (konopí, len, nit, teflonová páska) najdete v souvisejících produktech. Instalace (vodní systémy) bez pevných nečistot, jako je písek, vodní kámen atd. zaručí správný, bezporuchový provoz kulových kohoutů. Doporučené velikosti montážních klíčů najdete v rozměrových tabulkách níže.
Řez:

Rozměr:
Průtokový diagram:

Valvex S.A.
Valvex S.A. znamená kvalitu, spolehlivost a kreativitu designů a technologií. Značka je uznávána a oceňována v zemích Evropské unie, v zemích Severní a Jižní Ameriky a na Středním východě. Valvex S.A.se těší zasloužené pověsti na polském trhu, odkud firma pochází. Vyrábí několik tisíc položek sortimentu. Mezi ně patří: koupelnové a kuchyňské baterie, armatury pro vodovodní instalace, armatury pro plynové instalace, systémy ústředního vytápění, široký sortiment spojovacího materiálu, připojovací hadice. Historie společnosti sahá až do roku 1922. Tehdy byla založena první továrna na armatury v Polsku. Rok 1970 je jedním z milníků v historii firmy – tehdy byl otevřen výrobní závod v Jordanówě. V roce 1994 se stala společnost Valvex S.A. partnerem americké kapitálové skupiny Meridian International Group se sídlem v Milwaukee, Wisconsin USA. Skupina zaměstnává téměř 1 tis. zaměstnanci ve výrobních závodech a prodejních kancelářích ve Spojených státech a v Evropě. Valvex S.A. se může pochlubit prestižním certifikátem ISO 9001 a tzv. "Environmentální" ISO 14001, která dokazuje, že výroba je prováděna s ohledem na přírodní prostředí.
Rádi vám poradíme s řešením!
Volejte + 420 702 120 202 nebo pište na info@novalinea.cz.
Doplňkové parametry
| Kategorie: | Kulové kohouty s odvodněním |
|---|---|
| Záruka: | 24 měsíců |
| Použití: | voda a topení |
| Provedení: | přímý, s odvodněním |
| Připojení: | 1/2", 3/4", 1", 5/4", 6/4", 2" |
| Výrobce: | Valvex S.A. |
| ? Materiál: | mosaz |
| Médium: | voda |
| ? Ovládání: | páka |
| ? Provozní teplota: | 0 °C +95 °C |
| ? Provozní tlak: | PN 16 až PN 25 |
VALVEX S.A. - prezentace společnosti
VALVEX S.A. - prezentace výrobního závodu
VALVEX S.A. - výroba kulových ventil
Buďte první, kdo napíše příspěvek k této položce.
Buďte první, kdo napíše příspěvek k této položce.
Valvex – Tradiční polský výrobce armatur s globálním dosahem a moderním přístupem
Valvex S.A. patří mezi nejstarší výrobce armatur ve střední Evropě – jeho historie sahá až do roku 1922. Dnes je značka součástí americké skupiny Meridian International Group a nabízí tisíce produktů pro vodovodní a plynové instalace, vytápění i sanitární techniku. Díky preciznímu inženýrství, silnému designu a důrazu na kvalitu je Valvex respektovaným jménem na trzích po celém světě.
✅ Kompletní sortiment armatur a baterií: pro vodovodní, plynové a topné systémy
✅ Silné exportní zastoupení: výrobky Valvex jsou známé v celé EU, v USA, Jižní Americe i na Středním východě
✅ Tradice a certifikovaná kvalita: od roku 1922, držitel ISO 9001 a ISO 14001 s ohledem na životní prostředí
Společnost Valvex S.A. kombinuje historickou zkušenost s moderním přístupem k výrobě. Díky neustálým inovacím, důrazu na ekologii a spolupráci se zahraničními partnery si buduje silnou pozici mezi evropskými i globálními výrobci armatur.
Rádi vám poradíme s řešením!
Volejte + 420 702 120 202
Pište na info@novalinea.cz
| Výrobní společnost : | Valvex SA |
|---|---|
| Adresa : | Nad Skawą 2, 34-240 Jordanów, Polsko |
| E-mail : | valvex@valvex.com |


